ABR
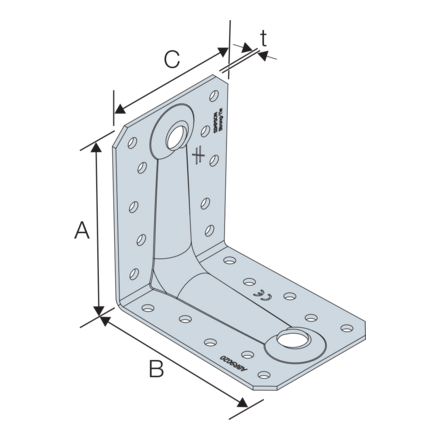
Úhelník ABR(9020)
Úhelník je opatřen žebry, je vhodný pro spoje, které jsou zatíženy velkou silou.
Označení CE
ETA
Servisní třída 2
Uvnitř
Pozinkovaná ocel Z275
EPD
Podrobnosti produktu
Vlastnosti
Material
Kvalita oceli:
S250GD+Z275 dle norem DIN EN10346
Ochrana proti korozi:
275 g/m pozinkováno z obou stran cca 20mm
Vorteile
- Nízká hmotnost - lepší manipulace, vysoké hodnoty zatížení, evropský patent.
Aplikace
Anwendbare Materialien
- Dřevo, výrobky ze dřeva
Anwendungsbereich
- Kompaktní připojení dřevo/dřevo, při relativně vysokém zatížení všemi směry např. vaznice, krov
Technické údaje
Product capacities - Timber to timber - Full nailing - 2 angles brackets
| Art. nr. | Product capacities - Timber beam to timber beam - Full nailing - 2 angle brackets | ||||||||
|---|---|---|---|---|---|---|---|---|---|
| Upevňovací prvky | Characteristic capacities - Timber C24 - 2 angle brackets per connection [kN] | ||||||||
| Příruba A | Hlava | R1.k | R2.k = R3.k | R4.k = R5.k* | |||||
| Množství | Množství | CNA4.0x40 | CNA4.0x60 | CSA5.0x40 | CNA4.0x40 | CNA4.0x60 | CSA5.0x40 | CNA4.0x40 | |
| ABR9020 | 8 | 10 | 10.8 | 14.9 | 14.6 | 10.3 | 13 | 12.3 | 4,9 / kmod^0,7 |
* b = 75 mm and e = 130 mm
To obtain the resistance values for a single bracket, the values in the above table should be divided by two, provided that the supported beam is locked in rotation. Please consult our ETA-06/0106 if the beam is free to rotate.
Product capacities - Timber to timber - Partial nailing - 2 angles brackets
| Art. nr. | Product capacities - Timber beam to timber beam - Partial nailing - 2 angle brackets | |||||
|---|---|---|---|---|---|---|
| Upevňovací prvky | Characteristic capacities - Timber C24 - 2 angle brackets per connection [kN] | |||||
| Příruba A | Hlava | R1.k | R2.k = R3.k | |||
| Množství | Množství | CNA4.0x50 | CNA4.0x60 | CNA4.0x50 | CNA4.0x60 | |
| ABR9020 | 4 | 6 | 7.8 | 9.8 | 7.6 | 8.1 |
To obtain the resistance values for a single bracket, the values in the above table should be divided by two, provided that the supported beam is locked in rotation. Please consult our ETA-06/0106 if the beam is free to rotate.
Product capacities - Timber beam to steel 6 mm - Partial nailing - 2 angles brackets
| Art. nr. | Product capacities - Timber beam to steel beam 6 mm - Partial nailing - 2 angle brackets | ||||
|---|---|---|---|---|---|
| Upevňovací prvky | Characteristic capacities - Timber C24 - 2 angle brackets per connection [kN] | ||||
| Příruba A | Hlava | R1.k | |||
| Množství | Typ | Množství | Typ | CNA4.0x60 | |
| ABR9020 | 8 | CNA | 4 | PDPA-75 | 12.1 |
Certifikace
Prohlášení o funkčnosti (DoP)
cz-dop-e06-0106-11-s-2.pdf
(344.46 KB)
cz-dop-e06-0106-10.pdf
(146.06 KB)
cz-dop-e06-0106-issue-9.pdf
(128.06 KB)
cz-dop-e06-0106-issue-8.pdf
(127.99 KB)
cz-dop-e06-0106-issue-7.pdf
(129.43 KB)
cz-dop-e06-0106-issue-6.pdf
(102.93 KB)
cz-dop-e06-0106-issue-4.pdf
(85.95 KB)
cz-dop-e06-0106-issue-3.pdf
(92.64 KB)
cz-dop-e06-0106-issue-2.pdf
(92.54 KB)
Evropské technické posouzení (ETA)
eta-06-0106-2026-03-09.pdf
(12.89 MB)
eta-06-0106-2021-04-09.pdf
(11.66 MB)
eta-06-0106-2020-01-29-cor1.pdf
(13.43 MB)
eta-06-0106.pdf
(13.43 MB)
eta-060106-sst-ab-r10-2018-issued.pdf
(10.1 MB)
eta-060106-sst-ab-v8-2016.pdf
(9.59 MB)