Skrytá trámová botka BTALU
Botky slouží jako nosiče skrytých sil mezi sekundárními svazky hlavních nosníků a sloupů.
Podrobnosti produktu
Vlastnosti
Materiál
- AlMgSi 0,7 F26
Vorteile
Toto spojení lze provést až do 45 °.
Botky BTALU jsou vhodné zejména pro spojení dřevo-dřevo, ve kterém jsou vlákna, která je kolmá (např. sloupce)
Montážní otvor umožňuje bezpečné a pohodlné zavěšení nosníku.
U této botky není potřeba přídavné podpěry
Požární ochrany podle DIN 4102.
Aplikace
Anwendbare Materialien
Dřevo, výrobky ze dřeva
Anwendungsbereich
Pro připojení sekundárních nosníků ze dřeva nebo dřevěných materiálů do hlavní nosné konstrukce ze dřeva / dřevěných materiálů
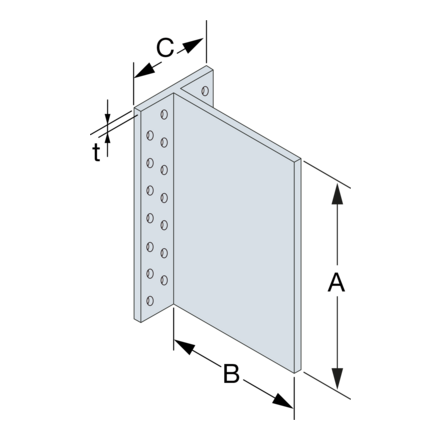
Technické údaje
Rozměry a typické hodnoty
| Art. nr. | DB. nr. | Rozměry a typické hodnoty [mm] | Otvory hlavy | Box Quantity | Hmotnost [kg] | |||
|---|---|---|---|---|---|---|---|---|
| A | B | C | t | Ø5 | ||||
| BTALU90 | 1862485 | 86 | 109 | 62 | 6 | 16 | 25 | 0.23 |
| BTALU120 | 1821910 | 116 | 109 | 62 | 6 | 20 | 25 | 0.3 |
| BTALU160 | 1821917 | 156 | 109 | 62 | 6 | 28 | 25 | 0.41 |
| BTALU200 | 1862489 | 196 | 109 | 62 | 6 | 38 | 15 | 0.51 |
| BTALU240 | 1821920 | 236 | 109 | 62 | 6 | 44 | 15 | 0.61 |
| BTALU3000 | 5104612 | 3000 | 109 | 62 | 6 | - | 1 | 8 |
Otvory tyčových hmoždinek ve vedlejším nosníku je třeba vyvrtat podle obrazce otvorů podle ETA.
Rozměr A může být až o 4mm kratší při řezání ze základní délky. Řez je třeba provést mezi otvory hřebíků.
Charakteristické nosnosti - Dřevěný trám na dřevěný trám
| Art. nr. | Charakteristické nosnosti - Dřevěný trám na dřevěný trám - plné hřebování [kN] | |||||||||
|---|---|---|---|---|---|---|---|---|---|---|
| Upevňovací prvky | R1,k = R2.k | |||||||||
| Hlava | Trám | Dowels length [mm] | ||||||||
| Množství | Typ | Množství | Typ | 60 | 80 | 100 | 120 | 140 | 160 | |
| BTALU90 | 16 | CNA4.0x50 | 4 | STD8 | 10.8 | 11.8 | 12.9 | 13.7 | 13.7 | 13.7 |
| BTALU120 | 20 | CNA4.0x50 | 3 | STD12 | 17.3 | 18.2 | 19.4 | 20.7 | 22.3 | 23.9 |
| BTALU160 | 28 | CNA4.0x50 | 4 | STD12 | 28 | 29.5 | 31.2 | 33.3 | 35.7 | 38.2 |
| BTALU200 | 38 | CNA4.0x50 | 5 | STD12 | 39.8 | 41.9 | 44.3 | 47.2 | 50.4 | 53.9 |
| BTALU240 | 44 | CNA4.0x50 | 6 | STD12 | 52.2 | 54.9 | 57.9 | 61.7 | 65.9 | 70.3 |
Šířka vedlejšího nosníku=délka kolíku.
Pro trámy se sklonem β se musí nosnost násobit koeficientem (faktorem).
| β | 0° | 15° | 30° | 45° |
| Faktor (koeficiet) | 1.0 | 0.95 | 0.9 | 0.85 |
To platí pouze pro připojení s méně než 7 kolíky k vedlejším nosníku.
Charakteristické nosnosti - Dřevěný trám na dřevěný trám - R3.k a R4.k
| Art. nr. | Charakteristické nosnosti - Dřevěný trám na dřevěný trám - plné hřebování [kN] | ||||||||||
|---|---|---|---|---|---|---|---|---|---|---|---|
| Upevňovací prvky | Charakteristické kapacity - dřevo C24 [kN] | ||||||||||
| Hlava | Trám | R3,k | R4,k | ||||||||
| Množství | Typ | Množství | Typ | Dowels length [mm] | |||||||
| 60 | 80 | 100 | 120 | 140 | 160 | ||||||
| BTALU90 | 16 | CNA4.0x50 | 4 | STD8 | 1.5 | 1.9 | 2.3 | 2.7 | 3.1 | 3.6 | 7.8 |
| BTALU120 | 20 | CNA4.0x50 | 3 | STD12 | 2.2 | 2.9 | 3.5 | 4.2 | 4.8 | 5.6 | 9.8 |
| BTALU160 | 28 | CNA4.0x50 | 4 | STD12 | 2.9 | 3.6 | 4.4 | 5.3 | 6.2 | 7 | 13.7 |
| BTALU200 | 38 | CNA4.0x50 | 5 | STD12 | 3.5 | 4.4 | 5.4 | 6.4 | 7.4 | 8.4 | 17.6 |
| BTALU240 | 44 | CNA4.0x50 | 6 | STD12 | 4.2 | 5.3 | 6.4 | 7.4 | 8.6 | 9.8 | 21.6 |
Šířka vedlejšího nosíku = délka tyčové hmoždinky.
Nosnosti R4.k se vztahují na všechny délky tyčových hmoždinek.
Charakteristické nosnosti - Dřevěný trám na dřevěný sloupek
| Art. nr. | Product characteristic capacities - Timber beam to timber post - partial nailing | ||||||||||
|---|---|---|---|---|---|---|---|---|---|---|---|
| Upevňovací prvky | Post width | Charakteristické kapacity - dřevo C24 [kN] | |||||||||
| Hlava | Trám | Výška [mm] | R1,k = R2.k | ||||||||
| Množství | Typ | Množství | Typ | Dowels length [mm] | |||||||
| 60 | 80 | 100 | 120 | 140 | 160 | ||||||
| BTALU90 | 8 | CNA4.0x50 | 4 | STD8 | 96 | 9 | 9.9 | 10.9 | 11.6 | 11.6 | 11.6 |
| BTALU120 | 12 | CNA4.0x50 | 3 | STD12 | 96 | 14.7 | 15.5 | 16.6 | 17.9 | 19.4 | 20.7 |
| BTALU160 | 16 | CNA4.0x50 | 4 | STD12 | 96 | 23.2 | 24.4 | 26 | 27.9 | 30 | 32 |
| BTALU200 | 20 | CNA4.0x50 | 5 | STD12 | 96 | 32.4 | 34.1 | 36.2 | 38.7 | 41.2 | 43.4 |
| BTALU240 | 24 | CNA4.0x50 | 6 | STD12 | 96 | 42.1 | 44.3 | 46.8 | 49.7 | 52.3 | 53.2 |
Šířka vedlejšího nosníku=délka kolíku.
Pro trámy se sklonem β se musí nosnost násobit koeficientem (faktorem).
| β | 0° | 15° | 30° | 45° |
| Faktor (koeficiet) | 1.0 | 0.95 | 0.9 | 0.85 |
Nosnosti této tabulky platí i pro částečné zahřebíkování - trám na trám.
R2,k nosnost může být měřena jako R2,k = R1,k x (počet kolíků - 1) / (počet kolíků).
U horního kolíku se nepřihlíží ke zvedací síle, protože je umístěn v otevřeném otvoru.
Další informace naleznete v ETA.
Charakteristické nosnosti - Dřevěný trám na dřevěný trám - R3.k a R4.k
| Art. nr. | Product characteristic capacities - Timber beam to timber post - partial nailing | |||||||||||
|---|---|---|---|---|---|---|---|---|---|---|---|---|
| Upevňovací prvky | Post width | Charakteristické kapacity - dřevo C24 [kN] | ||||||||||
| Hlava | Trám | Výška [mm] | R3,k | R4,k | ||||||||
| Množství | Typ | Množství | Typ | Dowels length [mm] | ||||||||
| 60 | 80 | 100 | 120 | 140 | 160 | |||||||
| BTALU90 | 8 | CNA4.0x50 | 4 | STD8 | 96 | 1.5 | 1.9 | 2.3 | 2.7 | 2.7 | 2.7 | 3.9 |
| BTALU120 | 12 | CNA4.0x50 | 3 | STD12 | 96 | 2.2 | 2.9 | 3.5 | 4.2 | 4.8 | 5.6 | 5.9 |
| BTALU160 | 16 | CNA4.0x50 | 4 | STD12 | 96 | 2.9 | 3.6 | 4.4 | 5.3 | 6.2 | 7 | 7.8 |
| BTALU200 | 20 | CNA4.0x50 | 5 | STD12 | 96 | 3.5 | 4.4 | 5.4 | 6.4 | 7.4 | 8.4 | 9.8 |
| BTALU240 | 24 | CNA4.0x50 | 6 | STD12 | 96 | 4.2 | 5.3 | 6.4 | 7.4 | 8.6 | 9.8 | 11.8 |
Šířka vedlejšího nosíku = délka tyčové hmoždinky.
Nosnosti R4.k se vztahují na všechny délky tyčových hmoždinek.