PVI
Stützenfüße Typ VARIO (innen)
Die PVI Stützenfüße sind höhenverstellbar und werden einbetoniert.
Označení CE
ETA
Servisní třída 3
Žárově pozinkovaná ocel
Exteriér
EPD
K dispozici v Connector Selectoru
Podrobnosti produktu
Vlastnosti
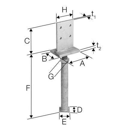
Material
Stahlqualität:
S 235 JR gemäß DIN EN 10025
Korrosionsschutz:
nach Bearbeitung rundumfeuerverzinkt; Zinkschichtdicke ca. 55 μm gemäß DIN EN 1461
Vorteile
- Die PVI Stützenfüße sind höhenverstellbar und werden für verdeckte Anschlüsse bevorzugt, da hier das aufrechte Schlitzblech in der eingeschlitzten Stütze eingebaut wird.
- Der Mindeststützenquerschnitt für Typ PVI ist 60 × 90 mm.
- Die max. Höhenverstellung beträgt ± 25 mm von der Idealhöhe.
Aplikace
Anwendbare Materialien
Auflager:
- Beton
Aufzulagerndes Bauteil:
- Holz, Holzwerkstoffe
Anwendungsbereich
- Einbetonierte Befestigung von Holzstützen zur nachträglichen vertikalen Ausrichtung unter mittlerer Belastung und für alle Krafrichtungen.
Technické údaje
Typická kapacita
| Art. nr. | Upevňovací prvky | Typická kapacita [kN] | ||||||||||||||||
|---|---|---|---|---|---|---|---|---|---|---|---|---|---|---|---|---|---|---|
| On post | F1 | F2 | R3.k | R4.k gmax**=32 mm | R4.k gmax**= 57 mm | R4.k gmax**= 82 mm | ||||||||||||
| Množství | Typ | Dowel length [mm] | g** | Dowel length [mm] | Dowel length [mm] | Dowel length | ||||||||||||
| 80 | 120 | 160 | 32 | 57 | 82 | 80 | 120 | 160 | 80 | 120 | 160 | 80 | 120 | 160 | ||||
| PVIG-B | 4 | STD8 | min (90.7 ; 49/kmod) | 16 | 20.7 | 20.7 | 3.1/kmod | 2.7/kmod | 2.3/kmod | min (2.9 ; 2.5/kmod) | min (4.3 ; 4.3/kmod) | min (6.5 ; 5.4/kmod) | min (2.5 ; 2.2/kmod) | min (3.8 ; 3.8/kmod) | min (5.7 ; 4.7/kmod) | min (2.1 ; 1.8/kmod) | min (3.23 ; 3.23/kmod) | min (4.8 ; 4.0/kmod) |
- b = Holzbreite [mm]
- g = Abstand Oberkante Beton zu Unterkante Holzstütze [mm]
- Umrechnung abweichendes Maß "g":
| "g" statt 57mm | Faktor |
| 32mm | 1,15 |
| 82mm | 0,85 |
- Kombinierte Beanspruchung:
- Die Stabdübel müssen mindestens 60mm lang sein
Instalace
Certifikace
Prohlášení o funkčnosti (DoP)
cz-dop-e07-0285-08-s-2.pdf
(345.45 KB)
cz-dop-e07-0285-07.pdf
(132.16 KB)
cz-dop-e07-0285-06.pdf
(131.62 KB)
cz-dop-e07-0285-issue-5.pdf
(130.19 KB)
cz-dop-e07-0285-issue-4.pdf
(130.47 KB)
cz-dop-e07-0285-issue-2.pdf
(89.27 KB)
Evropské technické posouzení (ETA)
eta-07-0285-2025-11-19.pdf
(9.05 MB)
eta-07-0285-2021-12-09.pdf
(8.11 MB)
eta070285-sst-pb-hd-r6-2018.pdf
(8.84 MB)