CPB

Patka sloupku CPB

Tato patka sloupku se skládá z hlavičky se speciálním závitem, která zajišťuje snadnou instalaci a má vysoké hodnoty vytržení. Typ CPB je výškově nastavitelná.

Označení CE
ETA
Servisní třída 3
K dispozici v Connector Selectoru

Podrobnosti produktu

Obrázky

Vlastnosti

Material

Kvalita oceli:

S 235 JR dle norem DIN EN 10025

Ochrana proti korozi:

Tloušťka vrstvy pozinkování asi 55 mikronů v souladu s DIN EN 1461

Vorteile

  • vhodná pro truhlářské profesionály
  • Vhodné pro rozměry sloupců od 120x120 mm
  • Vysoké hodnoty v tahu
  • Výškově nastavitelná i při instalaci
  • Vysoká zatížitelnost

Aplikace

Anwendbare Materialien

Dřevo, výrobky ze dřeva, beton

Anwendungsbereich

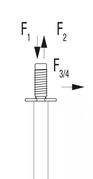
  • Patky CPB jsou navrženy tak, aby odolaly svislému a vodorovnému zatížení
  • Připojení ke zbytku konstrukce probíhá v 40 mm v průměru vývrtu
  • V konvenčním truhlářství doporučujeme použití šablony BTBS40.

Technické údaje

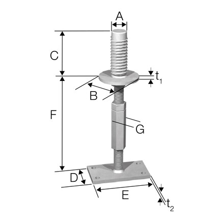
Rozměry

Rozměry a typické hodnoty

Art. nr. Post dimensions [mm] Rozměry [mm] Bottom plate holes Hmotnost [kg]
Šířka A B C D E F t1 t2 Ø14
min
CPB401204010512090160190-24081044.1

Kapacita při plném zahřebíkování

Art. nr. Characteristic capacities - Timber C24 [kN]
R1.k R2.k R2.k** R3.k = R4.k
F = 190mm F = 250mm
CPB4061.0/kmod23.713.81.7/kmod1.4/kmod

** Pokud tlak (F1) a tahové síly (F2) se vyskytují

b = šířka dřeva [mm]

h = výška působení zatížení [mm]

Kombinované hodnoty:

 

Instalace

Instalace

Befestigung

  • Snadná instalace-Ø40 mm otvor
  • Montáž pomocí klíče s šířkou 36 mm
  • Centrování a utažení Ø40 mm -žádné šikmé šroubování

Certifikace

Prohlášení o funkčnosti (DoP)

Evropské technické posouzení (ETA)

Související produkty

Knihovna CAD a BIM

ZIP balíčky

Buy from Distributor

No items available.

Contact

Simpson Strong-Tie Německo

Simpson Strong-Tie GmbH

Hubert-Vergölst-Straße 6-14
61231 Bad Nauheim
Německo