BTFLEX

Hinge concealed beam hanger

The BTFLEX can be dowelled into the concrete as a flexible connection, slotted into the timber at the factory and then simply pushed in, secured with the split pin and the next connection can be made. 
This solution is particularly flexible if there are different angles between the wooden beam and the wall.

Production Status
discontinued
Označení CE
ETA
Servisní třída 2
Elektroizolační ocel 8 µm

Podrobnosti produktu

Vlastnosti

Material

Steel:

S235JR  acc. to EN10025 

Coating :

Electroplating yellow zinc > 8 µm

Benefits

  • The variety of connection options are given in the ETA 07/0245, here you will find also information of:
  • different slopes
  • connections of concrete

Aplikace

Suitable On

Supporting member:

  • concrete, steel

Supported member:

  • solid wood, engineered wood

Technické údaje

Rozměry

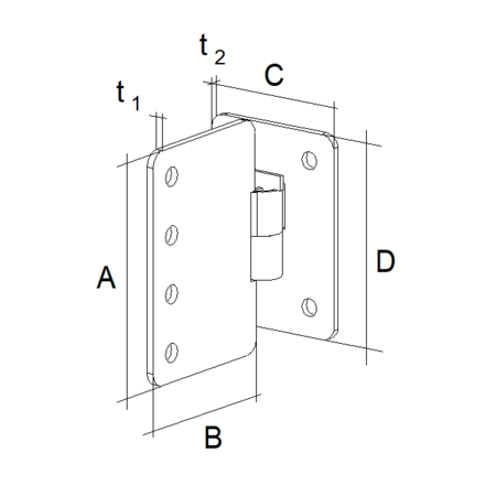
Product dimensions

Table "Product dimensions" cannot be displayed : no references available.

Product characteristic capacities - Timber beam to rigid support

Table "Product characteristic capacities - Timber beam to rigid support" cannot be displayed : no references available.

The bolt connection must be verified as follows:

Rbolt,lat.d = F1.d / 4 shear force to be absorbed per bolt
Rbolt.ax.d = F1.d x 0.15 Tensile force to be absorbed for both upper bolts together

for sloped connection, the capacies shall be multiply with the following factors:

β15°30°45°
Factor10,950,90,85

 

Instalace

Instalace

Fixing

The following fasteners need to be used:

  • steel dowels Ø12 mm, length acc. width of the joist
  • bolts M12 acc. static requirements

Certifikace

Prohlášení o funkčnosti (DoP)

Evropské technické posouzení (ETA)

ZIP balíčky

Buy from Distributor

No items available.

Contact

Simpson Strong-Tie Německo

Simpson Strong-Tie GmbH

Hubert-Vergölst-Straße 6-14
61231 Bad Nauheim
Německo