ABD

Angle bracket ABD

Angle bracket ABD45100 for connection timber to timber and the angle bracket ABDW45100 with washer for connection timber to rigid supports.

The fixing to the rigid support shall be done with anchor M12.

 

Označení CE
ETA
Servisní třída 2
EPD

Podrobnosti produktu

Obrázky

Vlastnosti

Materiál

Steel quality:
Angle bracket: S 250 GD + Z275 according to EN10346
Washer: S235JR according to EN 10025

Corrosion protection:
Angle bracket: Z 275 pre-galvanized, zinc coating ~ 20µm
Washer: hot dip galvanized, zinc coating ~ 50µm according to EN1461

Benefit

For applications timber to timber and timber to concrete

Aplikace

Anwendungsbereich

Applicable materials
Supporting member
Solid wood, engineered wood, concrete, steel, etc.

Supported member
Solid wood, engineered wood

Anwendungsbereich

With this angle brackets can be fixed timber elements to timber or rigid support.
With different nail pattern are given options for connection, with larger distances of first nail row.

Technické údaje

Rozměry

Rozměry a typické hodnoty

Art. nr. Rozměry [mm] No. of holes Hmotnost [kg]
A B C t1 flange A Hlava
Ø5mm Ø5mm 13x21mm
ABD451001004555310410.17

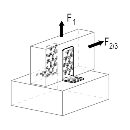
For load combination shall be fulfilled:

 

Characteristic capacities F1

Art. nr. R1,k - 1 angle bracket per connection [kN] R1,k - 2 angle brackets per connection [kN]
Nail pattern 1 to 3 respectively 4 to 6 Nail pattern 1 to 3 respectively 4 to 6
CNA4,0x35 CNA4,0x40 CNA4,0x50 CNA4,0x60 CNA4,0x35 CNA4,0x40 CNA4,0x50 CNA4,0x60
ABD45100min : 1,47 ; 21,2 / ((f+15)*kmod)min : 1,96 ; 21,2 / ((f+15)*kmod)21,2 / ((f+15)*kmod)21,2 / ((f+15)*kmod)2.943.924.95.81

The necessary capacity of bolt has to be as minimum: 

Rbolt.axial = F1.d x 1.65
With:
Rbolt.axial = min. axial capacity of the bolt / both bolts   (connection with 1 / 2 ABD )

 

Characteristic capacities F2/3

Art. nr. R2/3,k - 2 angle brackets per connection [kN]
Nail pattern 1 and 4 Nail pattern 2 and 5 Nail pattern 3 and 6
CNA4,0x35 CNA4,0x40 CNA4,0x50 CNA4,0x60 CNA4,0x35 CNA4,0x40 CNA4,0x50 CNA4,0x60 CNA4,0x35 CNA4,0x40 CNA4,0x50 CNA4,0x60
ABD451006.077.018.8610.185.656.227.478.123.493.824.574.94

For connection with one ABD can be use the half of capacities as for connection with 2 ABD, if the timber elements are prevented against rotation.

The necessary capacity of bolt has to be as minimum: 

Rbolt.axial = F2.d x 0.4      Rbolt.lat = F2.d
With:
Rbolt.axial = min. axial capacity of the bolt / both bolts   (connection with 1 / 2 ABD )
Rbolt.lat = min. lateral capacity of the bolt / both bolts   (connection with 1 / 2 ABD )

 

Instalace

Instalace

Installation

- Fastening is done with CNA4,0xℓ nails or CSA5,0xℓ screws.
- M12 anchor bolts are used for fastening to concrete.

 

Certifikace

Evropské technické posouzení (ETA)

eta-06-0106.pdf (13.43 MB)

Knihovna CAD a BIM

2D
3D

ABD45100

ZIP balíčky

Buy from Distributor

No items available.

Contact

Simpson Strong-Tie Německo

Simpson Strong-Tie GmbH

Hubert-Vergölst-Straße 6-14
61231 Bad Nauheim
Německo